Montážna príručka
Montážna príručka
Vyberte si jednu alebo viacero kapitol na stiahnutie.
Obsah

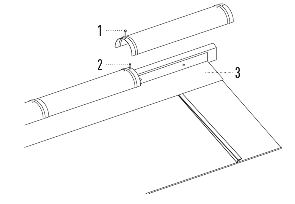
podkladový pás pre falcovanú škridlu

Montáž podkladového pásu

Odkvapový presah podkladového pásu by mal byť v zadnej tretine šírky žľabu a nesmie presiahnuť 80 mm.
Odmerajte 450 mm od plánovaného horného okraja prvej falcovanej škridle smerom k odkvapu (dávajte pozor na to, aby bol presah odkvapu 30 až 80 mm). 150 mm (šírka podkladového pásu) od spodného okraja si urobte značku (= šírka podkladového pásu, horný okraj).

Zopakujte príslušný postup na druhej strane odkvapu a spojte tieto značky vodorovne položenou farbiacou šnúrou.

Podkladový pás musí byť pribitý tak, aby odolal búrke (priklincujte všetky vopred vyrazené otvory). Pred pribitím všetkých vopred vyrazených otvorov priloženými klincami PREFA provizórne upevnite celý podkladový pás.

Upozornenie

Čím presnejšie namontujete podkladový pás, tým ľahšie sa vám bude strešný systém PREFA profesionálne pokladať.
Dbajte na to, aby bol podkladový pás položený pod separačnou vrstvou.

podkladový pás

Montáž podkladového pásu

Odkvapový presah podkladového pásu by mal byť v zadnej tretine šírky žľabu a nesmie presiahnuť 80 mm.
Podkladový pás je pripevnený rovno po celej dĺžke odkvapu pomocou vopred vykonaného šnúrovania.
Podkladový pás musí byť pribitý tak, aby odolal búrke (priklincujte všetky vopred vyrazené otvory).
Potom sa vo vertikálnom smere vytýči pravý uhol.
Pred pribitím všetkých vopred vyrazených otvorov priloženými klincami PREFA provizórne upevnite celý podkladový pás.

Upozornenie

Čím presnejšie namontujete podkladový pás, tým ľahšie sa vám bude strešný systém PREFA profesionálne pokladať. Ako pomôcka sú pre príslušné strešné krytiny PREFA k dispozícii značky (rozmery šnurovania).

Dbajte na to, aby bol podkladový pás položený pod separačnou vrstvou (pozri obrázok vyššie).

Špecifikum pri strešnom paneli R.16 a strešnom paneli FX.12

Podkladový pás vyrovnajte pomocou reliéfnych značiek pre strešný panel R.16 alebo strešný panel FX.12 podľa stredu strechy.
V súvislosti s tým je potrebné upozorniť, že oblasť určená pre bočné vyhnutie (napr. pre pripojenie záveternej lišty) sa nesmie nachádzať v oblasti falcu strešného panela R.16 alebo strešného panela FX.12 V prípade potreby posuňte podkladový pás o štvrtinu rozmeru strešného panela R.16 alebo strešného panela FX.12.

Špecifikum pri strešnej šablóne 29 × 29 a  44 × 44

Podkladový pás vyrovnajte pomocou reliéfnych značiek podľa stredu strechy.
V súvislosti s tým je potrebné upozorniť, že oblasť určená pre bočné vyhnutie (napr. pre pripojenie záveternej lišty) sa nesmie nachádzať v strede šablóny 29 × 29, resp. 44 × 44
. V prípade potreby posuňte podkladový pás o štvrtinu rozmeru (1/4 zvislého rozmeru šnurovania) strešnej šablóny 29 × 29, resp. 44 × 44.

Vytvorenie štítovej hrany a bočné napojenie

  • Strešnú krytinu PREFA ohnite o 30 mm nahor v pravom uhle k povrchu strechy (obr. 1).
  • Pripevnite pevne originálny podkladový upevňovací pás tak, aby horný okraj bol v rovnakej úrovni ako kraj štítovej dosky (obr. 2).
  • V oblastiach s veľkým množstvom snehu vyhotovte detail štítu podľa obr. 3.
  • V prípade vytvorenia štítového lemovania pomocou vytiahnutej rímsovej dosky použite variant znázornený na obr. 4.

Špecifikum pri strešnom paneli R.16 a strešnom paneli FX.12

Vystrihnite v oblasti vyhnutia horný patentový falc, tak aby ostal hákový falc (obr. 1 a 2) a vyhnite strešný panel R.16 alebo strešný panel FX.12 v pravom uhle k strešnej ploche o 30 mm.

Špecifikum pri strešnom šindli

Na každom ľavostrannom vyhnutí strešného šindľa (štítový pás a lemovanie) sa musia falce prechádzajúce šikmo nadol upraviť tak, aby sa zabránilo kapilárnemu vzlínaniu.

  • Naznačte oblasť vyhnutia a pridanie 30 mm navyše na drážku (obr. 1).
  • Strešný šindeľ odstrihnite s prídavkom na drážku (obr. 2).
  • Falc upravte vystrihnutím (obr. 3 a 4).
  • Takto upravený strešný šindeľ založte a urobte zdvihnutie pre bočné napojenie (obr. 5 a 6).

Varianty so skráteným šindľom alebo pásovým šindľom

Ďalšími variantmi je osadenie šikmých falcov so skráteným strešným šindľom alebo pásovým šindľom mimo oblasť vyhnutia.

Variant 1: Skrátený šindeľ
Posledný strešný šindeľ pred vyhnutím okraja skráťte a namontujte (obr. 7 a 8).

Variant 2: Pásový šindeľ
Uložte pásový šindeľ, odrežte ho s prídavkom na drážku 30 mm a urobte zdvihnutie pre bočné napojenie (obr. 8 a 9).

Profesionálne vyhotovenie zaručuje, že strecha bude odolná voči dažďu.
Po príprave strešného šindľa môžete vyrobiť ukončovacie oplechovanie (napr. oplechovanie štítu alebo bočné lemovanie s napojením na stenu) a zapracovať ho do krytiny.

Špecifikum pri strešnom šindli DS19

Na každom ľavostrannom vyhnutí strešného šindľa DS.19 (záveterná lišta a lemovanie) sa musia falce prechádzajúce šikmo nadol upraviť tak, aby sa zabránilo kapilárnemu vzlínaniu.

  • Naznačte oblasť vyhnutia a 30 mm rezervu na falcovanie a odstrihnite na línii prídavku (obr. 1).
  • Falc upravte vystrihnutím (obr. 2 a 3).
  • Takto upravený strešný šindeľ DS.19 založte a urobte zdvihnutie pre bočné napojenie (obr. 4 a 5).

Variant, pásový šindeľ DS.19

Jedným z variantov je osadenie šikmých falcov s pásovým šindľom DS.19 mimo oblasť vyhnutia.

  • Založte pásový šindeľ DS.19 a na hornom ohybe šindľa vyznačte diagonálne prebiehajúci falc (obr. 6).
  • Okolo značky na spätnom ohybe šindľa urobte vystrihnutie v tvare polmesiaca (obr. 7).
  • Pásový šindeľ DS.19 založte a upevnite (obr. 8).
  • Vyhnite okraj strešnej krytiny. (Obr. 9 a 10).

Upozornenie

Pásové šindle DS.19 nie sú vhodné na kompletné pokrytie strechy.
POZOR: Skrátenie strešného šindľa DS.19 nie je možné z dôvodu kapilárneho vzlínania.

Profesionálne vyhotovenie zaručuje, že strecha bude odolná voči dažďu.
Po príprave strešného šindľa DS.19 môžete vyrobiť ukončovacie oplechovanie (napr. oplechovanie štítu alebo bočné lemovanie s napojením na stenu) a zapracovať ho do krytiny.

Špecifikum pri strešnej šablóne 29 × 29

Pri každom bočnom vyhnutí strešnej šablóny 29 × 29 (záveterná lišta a lemovanie) vystrihnite a vyhnite falce prechádzajúce šikmo nadol na spodnej strane.

  • Naznačte oblasť vyhnutia a pridanie 30 mm navyše na drážku
  • Odstrihnite strešnú šablónu 29 x 29 s prídavkom na drážku a vytvorte nastrihnutím a vyhnutím jazýček (obr. 1).
  • Vytvorený falc vyhnite a zaoblite do tvaru slzičky strihaním (obr. 2).
  • Takto upravenú strešnú šablónu 29 × 29 uložte a vyhnite okraj (obr. 3 a 4).

Profesionálne vyhotovenie zaručuje, že strecha bude odolná voči dažďu.

Po príprave strešných šablón 29 × 29 môžete vyrobiť ukončovacie oplechovanie (napr. oplechovanie štítu alebo bočné lemovanie s napojením na stenu) a zapracovať ho do strešnej krytiny.

Špecifikum pri strešnej šablóne 44 x 44

Pri každom bočnom vyhnutí strešnej šablóny 44 × 44 (záveterná lišta a lemovanie) vystrihnite a vyhnite falce prechádzajúce šikmo nadol na spodnej strane.

  • Naznačte oblasť vyhnutia a pridanie 30 mm navyše na drážku
  • Odstrihnite strešnú šablónu 44 x 44 s prídavkom na drážku a vytvorte nastrihnutím a vyhnutím jazýček (obr. 1).
  • Vytvorený falc vyhnite a zaoblite do tvaru slzičky strihaním (obr. 2).
  • Šikmú pripojovaciu drážku na jej hornom konci v oblasti zdvihnutia vystrihnite (obr. 3).
  • Takto upravenú strešnú šablónu 44 × 44 uložte a vyhnite okraj (obr. 4).

Profesionálne vyhotovenie zaručuje, že strecha bude odolná voči dažďu.
Po príprave strešných šablón 44 × 44 môžete vyrobiť ukončovacie oplechovanie (napr. oplechovanie štítu alebo bočné lemovanie s napojením na stenu) a zapracovať ho do strešnej krytiny.

Vytvorenie úžľabia

Variant s bezpečnostným úžľabím

1 Falcovaná škridla
2 poistná podstrešná fólia (vysokodifúzna)
3 príponka

4 Úžľabný plech
5 Úžľabná doska

Pri bezpečnostnom úžľabí ide o odporúčanie spoločnosti PREFA.
Klampiar sa v podstate rozhoduje sám, či použije bezpečnostné úžľabie, a to na základe svojich skúseností a odbornosti. V porovnaní s bežnými úžľabnými plechmi ponúka bezpečnostné úžľabie zvýšenú bezpečnosť proti vzdutej vode v citlivej oblasti úžľabia.


Výhody bezpečnostného úžľabia:

  • odolnosť proti vzdutej vode vďaka dodatočnému spätnému zahnutiu,
  • prefabrikovaný výrobok PREFA,
  • ďalšie ohyby v oblasti prekrytia,
  • prelisy v oblasti presahu prerušujú kapilárne vzlínanie,
  • lepšia pochôdznosť, zvýšená stabilita.

Variant s ručne vyrobeným úžľabným plechom

1 Falcovaná škridla
2 poistná podstrešná fólia (vysokodifúzna)
3 príponka

4 Úžľabný plech
5 Úžľabná doska

  • Úžľabie ohýbajte do maximálnej dĺžky 3000 mm.
  • Vodnú drážku úžľabia obojstranne ohnite v šírke 40 mm.
  • Rozvinutá šírka plechu pre výrobu úžľabia závisí od tvaru a sklonu strechy, ako aj miestnych podmienok a nemá byť menšia ako 500 mm.
  • U nesúmerných striech so značne rozdielnym sklonom, resp. značne rozdielnym množstvom odvádzanej vody, vytvorte zapustené úžľabie alebo v jeho strede vytvorte stojatý ohyb (30 mm).

Napojenie úžľabia

  • Pri napojení úžľabia sa na strešnej krytine PREFA, ktorá sa má pokrývať, vyznačí približne 35 mm a odstrihne sa (obr. 1 a 2).
  • Vyznačená závesná drážka sa prehne (obr. 3).
  • Upravená strešná krytina PREFA sa zavesí a namontuje (obr. 4).

Špecifikum pri falcovanej škridle

Smer pokládky by mal byť vždy smerom k úžľabiu. Tým sa zabráni odchýleniu vlny v spoji škridiel pri zosuve snehu a ľadu v oblasti úžľabia.

  • Založte falcovanú škridlu a narysujte si na škridlu vnútornú hranu vodnej drážky úžľabia, pridajte cca 35 mm a škridlu odstrihnite (obr. 1).
  • V mieste ohybu škridle sklepnite vlnu, ohnite okraj škridle o 180° smerom dovnútra. Škridlu potom osaďte a pripevnite príponkou (obr. 2 a 3).
  • Pretože vyrovnaním vlny došlo k predĺženiu škridle, je nutné pomocou skoseného dreveného kolíku vyklepať vlnu do pôvodného stavu. Hornej hrane škridle sa tak navráti jej rovný tvar (obr. 4).

Špecifiká pri strešnom šindli a strešnom šindli DS.19

Upozornenie

Pri strešných šindľoch a strešných šindľoch DS.19 nedovoľte, aby na ľavej strane úžľabia bol ako prvý použitý delený šindeľ v tvare trojuholníku.

Strešný šindeľ

Ak na ľavej strane úžľabia vychádza styčný bod úžľabie/spoj šindľa, musíte pri strešných šindľoch vopred vyrobiť a namontovať skrátený strešný šindeľ (1), resp. pásový šindeľ (1).

strešný šindeľ DS.19

Ak na ľavej strane úžľabia vychádza styčný bod úžľabie/spoj šindľa, musíte pri strešných šindľoch DS.19 vopred namontovať pásový šindeľ DS.19 (1).
Skrátenie strešného šindľa DS.19 nie je možné z dôvodu kapilárneho vzlínania.

Špecifikum pri strešnom paneli R.16 a strešnom paneli FX.12

  • Ak vychádza styčný bod úžľabie/spoj panela, musíte vopred vyrobiť a namontovať medzikus (obr. 1).
    Upozornenie: Pri ručne vyrábaných úžľabných plechoch musíte v každom prípade zabrániť vzniku styčného bodu.
  • Aby ste predišli vzniku styčného bodu vyrobte medzikus z celého strešného panela R.16 alebo strešného panela FX.12 (obr. 2 a 3).
    POZOR: Veľkosť medzikusa zvoľte tak, aby sa nenarušilo ukladanie zachytávačov snehu. Presné vyhotovenie je jasne viditeľné na lícujúcich zachytávačoch snehu.

Upozornenie

Pri použití bezpečnostného úžľabia môže byť napojenie úžľabia vyhotovené aj tak, že vznikne styčný bod úžľabie/spoj panela.

Vytvorenie nárožia a hrebeňa

V závislosti od skladby strechy a funkčnosti existujú rôzne možnosti.

Odvetrávací hrebenáč Jet-Lüfter

Odvetrávací hrebenáč Jet-Lüfter sa môže používať na strechách so sklonom 12 – 55°.
Originálny odvetrávací hrebenáč Jet-Lüfter má na oboch stranách rozšírenie na prekrytie krytiny. Napriek tomu vytiahnite strešnú krytinu o 40 mm, aby ste dosiahli napojenie odolné voči dažďu.
Posledný (v prípade potreby skracovaný) rad panelov upevnite pomocou spätnej príponky priamym upevnením vedľa vrcholu vlny podloženej vlny (pri PREFA falcovaných škridlách) alebo priamym upevnením nad penový klin odvetrávacieho hrebenáča Jet-Lüfter.

Montáž

  • Posledný rad musí byť vyrovnaný tak, aby vznikla vzduchová medzera 80 mm. Jednotlivé prvky strešnej krytiny PREFA vyhnite zvislo cca 40 mm (obr. 1).
  • Medzi jednotlivými odvetrávacími hrebenáčmi Jet-Lüfter zachovajte dilatačné medzery cca 5 mm a potom stiahnite cca 50 mm z ochrannej lepiacej fólie tesniaceho klinu a vyhnite ho von (obr. 2).
  • Vycentrujte obidve spojky a každú pripevnite ako pevný bod pomocou nitu PREFA Ø 4,1 mm (obr. 3).
  • Prilepte tesniaci klin pomocou už odlepenej tesniacej plochy pod spojky. Potom stiahnite ochrannú lepiacu fóliu (obr. 4).
  • Odvetrávací hrebenáč upevnite pomocou tesniacich skrutiek PREFA (dĺžka 60 mm) vo vzdialenosti približne 600 mm (obr. 5).
    Poznámka:
    – V prípade falcovaných škridiel umiestnite tesniacu skrutku vždy na vrchol vlny.
    – V prípade strešných šindľov a šablón neumiestňujte upevnenie na šikmú závesnú drážku.
    – Pre FX.12 a R.16 neumiestňujte upevnenie na uhlovú stojatú drážku.
  • Návrh na montáž odvetrávacieho hrebenáča Jet-Lüfter na začiatok alebo na ukončenie hrebeňa (obr. 6).
    Tip: Najprv namontujte na okraji krycí plech a vyhnite 30 mm pre záveterné lišty, potom osaďte záveterné lišty.
  • Vyrovnajte ukončovací prvok odvetrávacieho hrebenáča Jet-Lüfter a upevnite ho pomocou nitu (obr. 7).
  • Príklad: napojenie hrebeň/nárožie (obr. 8)

Upozornenie

Dávajte pozor na to, aby penový klin dosadal na strešnú krytinu po celej dĺžke.

Upozornenie

Pri umiestnení otvorov na odvádzanie vzduchu pri jednoplášťových skladbách strechy nie je možné celkom vylúčiť vniknutie náletového snehu.

Sedlový vikier

Pri napájaní odvetrávacieho hrebenáča Jet-Lüfter na úžľabie musíte odvetrávací hrebenáč Jet-Lüfter utesniť pomocou ukončovacieho prvku a musíte ho vyhotoviť tak, aby sa do odvetrávacieho hrebenáča Jet-Lüfter nedostala zrážková voda z hlavnej strešnej plochy.

Vytvorenie nárožia a hrebeňa pomocou nárožných a hrebeňových pásov

Aby bola strecha zabezpečená proti naviatemu snehu, je bezpodmienečne nutné vytiahnuť strešnú krytinu PREFA v oblasti hrebeňa a nárožia aspoň o 40 mm.
Ak je posledný rad panelov veľmi krátky, môže sa namontovať aj priebežný štítový plech vyrobený zo zvitkového plechu.

Tip: Označte stred hrebeňovej laty farbiacou šnúrou, aby ste dostali presnú líniu pripevnenia.

Upozornenie

Hrebenáče vystrihnite v mieste vĺn alebo falcov.

1 Tesniaca skrutka

2 Klinec

1 Tesniaca skrutka
2 Klinec

3 Štítový plech

Príklad vytvorenia nárožia/hrebeňa

  • Obidva hrebenáče na nárožia uložené na nárožiach nastrihnite tak, aby sa na valbe prekrývali o cca 10 mm a potom ich pripevnite na strešné laty pomocou skrutiek (obr. 1).
  • Následne vystrihnite polovičný hrebenáč na nárožia tak, aby prekrýval vystrihnutý spoj obidvoch hrebenáčov na nárožia. Pre uľahčenie napojenia horného hrebenáča vytvarujte vonkajšiu časť vystrihnutia, ako je vidieť na fotografii (obr. 2).
  • Po upevnení takto upraveného hrebenáča na nárožia na hrebeňovú latu môžete pokračovať s bežnými hrebenáčmi na nárožia (obr. 3).

Špecifikum pri falcovanej škridle

Ak má byť na falcovanej škridle namontovaný priebežný štítový plech, musí byť horný spätný ohyb škridle zarovnaný tak, aby bolo možné zavesiť rovný štítový plech.

  • Nastrihnite spätný ohyb na vrchole vlny a nadvihnite ho pomocou drážkovnice (obr. 1 a 2).
  • Kladivom vyklepte vlnu na plocho, aby sa vytvoril rovnomerne otvorený falc. Nastrihnutie v mieste spoja škridle nie je potrebné (obr. 3).
  • Teraz môžete štítový plech bez problémov zavesiť (obr. 4).

Špecifikum pri strešnej šablóne 29 × 29 a  44 × 44

Ak má byť na strešné šablóny 29 × 29 alebo 44 × 44 namontovaný priebežný štítový plech, musia sa použiť ukončovacie šablóny pre strešné šablóny 29 × 29, resp. 44 × 44. Umožnia vytvorenie vodorovnej závesnej drážky.

Dodávaný krycí pásik (1) sa musí namontovať medzi ukončovacie šablóny pre strešnú šablónu 29 × 29.

Jednoduché vytvorenie hrebeňa pomocou závesnej drážky.

Po zastrihnutí strešnej krytiny PREFA vytvorte závesnú drážku.

Špecifikum pri falcovaných škridlách

Po skrátení falcovanej škridle stlačte jej strednú vlnu a potom záhyb položte, aby ste vytvorili závesnú drážku. Stlačený záhyb môžete vytvoriť pomocou falcovacích klieští alebo tiež pomocou ryhovacieho a vrúbkovacieho stroja.

Vytvorenie hrebeňa pomocou jednoduchého hrebenáča na hrebeň

Ak je vzdialenosť medzi strešnou krytinou PREFA a bodom hrebeňa menšia ako 150 mm a nie je potrebné odvetrávanie, môžete použiť jednoduchý hrebenáč na hrebeň.

Vytvorenie odskoku na streche

Falcovaná škridla

Odskok sa vytvára pomocou dvoch podkladových pásov.

1. podkladový pás pre falcovanú škridlu

2. podkladový pás (tvarovaný)

  • Pribite prvý podkladový pás (1 806 × 150 mm) ako zvyčajne.
  • Druhý podkladový pás (tvarovaný) preložte cez prvý rad panelov vo výške falcu hlavnej strešnej plochy. Ak si to miesto stavby vyžaduje, vložte tesniaci pás, aby ste získali medzeru pre závesnú drážku falcovanej škridly nachádzajúcej sa hore (obr. 1).
  • Nasledujúci rad falcovaných škridiel potom môžete uložiť po celej šírke (obr. 2).

Strešný panel R.16  a strešný panel FX.12

  • Naznačte 30 mm presah a odstrihnite strešný panel R.16/strešný panel FX.12 (obr. 1).
  • Hornú drážku v dĺžke cca. 200 mm vystrihnite (obr. 2).
  • Hornú závesnú drážku priebežne narovnajte (obr. 3).
  • Postavte prídavok 30 mm a nafalcujte štítovú lištu (obr. 4).
  • Strešný panel R.16/strešný panel FX.12 označte podľa odskoku strechy, pridajte prídavok na spätný ohyb a zastrihnite (obr. 5).
  • Upravený strešný panel R.16/upravený strešný panel FX.12 položte (obr. 6).
  • Obidva strešné panely R.16/strešné panely FX.12 spolu zafalcujte a koniec drážky položte pre vytvorenie spätného ohybu (obr. 7).
  • Oblasť zavesenia opäť prehnite a pripevnite patentovanou príponkou (obr. 8).
  • Nasledujúci rad strešných panelov R.16/strešných panelov FX.12 potom môžete uložiť po celej šírke (obr. 9).

Strešný šindeľ a strešný šindeľ DS.19

  • Ak si odskok strechy vyžaduje prvú radu s užšími strešnými šindľami, je potrebné upraviť strešné šindle/strešné šindle DS.19 (obr. 1).
  • Nasledujúci rad šindľov potom môžete pokryť po celej šírke (obr. 2).
  • Hotový odskok strechy (obr. 3).

Strešná šablóna 29 × 29 a strešná šablóna  44 × 44

Pri odskokoch strechy so strešnou šablónou 29 × 29, resp. 44 × 44 je vo väčšine prípadov potrebné prispôsobiť oplechovanie odkvapu. Týmto sa môže začať so štartovacou šablónou pre strešné šablóny 29 × 29 alebo 44 × 44 (obr. 1A a 1B).

Variant A: Vodorovne prebiehajúci falc

Nasledujúci rad strešných šablón sa potom môže uložiť po celej šírke (obr. 2A a 2B).

Variant B: Zvislo prebiehajúci falc

Hotový odskok strechy (obr. 3A a 3B).

Napojenie na nástrešný žľab

Podkladový pás 1 806 × 150 mm ohnite podľa nasledujúceho obrázka (2 ohyby)